芯城品牌采购网 > 品牌资讯 > 行业资讯 > 华为公布EUV光刻新专利!
芯城品牌采购网
7934
公开消息显示,近日,华为公布了一项新专利,展示了一种《反射镜、光刻装置及其控制方法》, 专利申请号为CN202110524685.X。
据悉,该专利提供了一种反射镜、光刻装置及其控制方法,而这种方法便能够解决相干光因形成固定的干涉图样而无法匀光的问题,在极紫外光的光刻装置基础上进行了优化,进而达到匀光的目的。


Source:华为
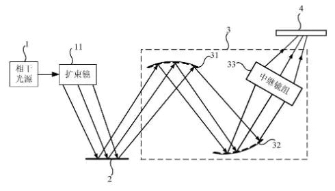
该光刻装置包括相干光源 1、反射镜 2 ( 也可以称为去相干镜 ) 、照明系统 3。其中,反射镜 2 可以进行旋转;例如,可以在光刻装置中设置旋转装置,反射镜 2 能够在旋转装置的带动下发生旋转。在该光刻装置中,相干光源 1 发出的光线经旋转的反射镜 2 的反射后,通过照明系统 3 分割为多个子光束并投射至掩膜版 4 上,以进行光刻。
在光刻装置中,上述照明系统 3 作为重要组成部分,其主要作用是提供高均匀性照明 ( 匀光 ) 、控制曝光剂量和实现离轴照明等,以提高光刻分辨率和增大焦深。
照明系统 3 的匀光功能可以是通过科勒照明结构实现的。

Source:华为
该照明系统 3 包括视场复眼镜 31 ( field flyeye mirror,FFM ) 、光阑复眼镜 32 ( diaphragm flyeye mirror,PFM ) 、中继镜组 33;
其中,中继镜组 33 通常可以包括两个或者两个以上的中继镜。照明系统 3 通过视场复眼镜 31 将来自相干光源 1 的光束分割成多个子光束,每个子光束再经光阑复眼镜 32 进行照射方向和视场形状的调整,并通过中继镜组 33 进行视场大小和 / 或形状调整后,投射到掩膜版 4 的照明区域。
通过在相干光源 1 与照明系统 3 之间的光路上设置反射镜 2,在此情况下,相干光源 1 发出的光线经旋转的反射镜 2 反射后相位不断发生变化。
这样一来,在经反射镜 2 反射后的光线通过照明系统 3 分割为多个子光束并投射至掩膜版 4 上时,形成在掩膜版 4 的照明区域的干涉图样不断变化,从而使得照明视场在曝光时间内的累积光强均匀化,从而达到匀光的目的,进而也就解决了相关技术中因相干光形成固定的干涉图样而无法匀光的问题。
免责声明:
文章内容转自互联网,不代表本站赞同其观点;
如涉及内容、图片、版权等问题,请联系2644303206@qq.com我们将在第一时间删除内容!